新专利暗指任天堂 Switch 2 或支持磁吸式双屏玩法
多年来,任天堂凭仗 Switch 游戏机在掌机游戏范畴占有主导地位,现在其继任者 Switch 2 行将推出。现在,咱们仅能经过一段官方发布的简略视频预告了解该主机的有限信息,但一项新专利或许透露了 Switch 2 将带来怎样的全新体会。
依据一项新发现的任天堂专利
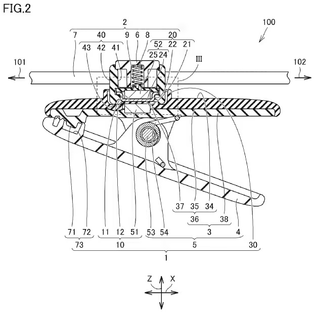
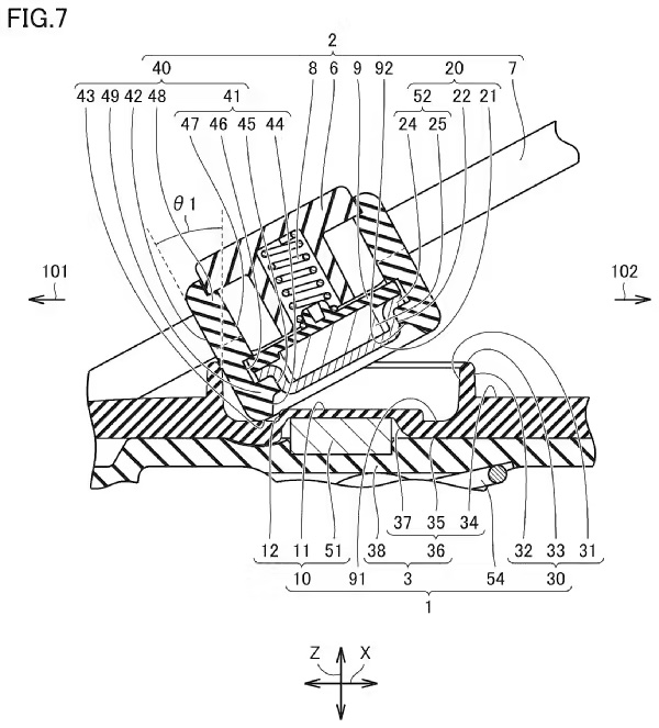
,Switch 2 或许会装备一种立异的磁吸式附件,用于完成双屏游戏玩法。该专利文件指出,该设备能够相对主机旋转并固定手机或其他设备,并经过磁力完成设备的吸附与别离。这一规划不只支撑将手机作为第二屏幕运用,还能够依据需求挑选单屏或双屏形式。

专利中说到的“衔接结构与吸附结构”触及一种可环绕磁力方向旋转的耦合结构,两个设备能够相对互相旋转,而且能够方便地吸附与别离。此外,该设备还或许作为手持设备的支架,为用户带来更大的灵活性。
更值得一提的是,该专利还展现了一种适配床上用品的固定设备,标明该设备能够吸附在柔软外表,如床、沙发等,为玩家供给愈加快捷的游戏体会。专利中描绘的附件结构包括一个床上用品适配器和一个衔接仪器,其间床上用品适配器包括固定部分和触摸部分。
任天堂在曩昔的游戏机中现已屡次探究双屏功用,因而 Switch 2 有望在此基础上更进一步。不过,在更多细节发布之前,仍需坚持慎重达观的情绪。